氣動粉體蝶閥
 |
 |
| 氣動粉體蝶閥 |
氣動水泥蝶閥 |
■ 氣動粉體蝶閥產品概述
上海川滬閥門有限公司生產的氣動粉體蝶閥氣動水泥蝶閥是專門用于粉體,顆粒物料的工業(yè)產品。氣動水泥蝶閥閥體橡膠密封圈形成的軟性密封使其非常適合各利粉體,顆粒物料的應用場合,特別是對于磨損性強的物料。在需要重力落料或氣力輸送的粉體,顆粒物料處理系統(tǒng)中,氣動水泥蝶閥常常被安裝在料斗,筒倉,螺旋輸送機出口以及氣送管路上。根據應用要求,可以單獨選配驅動手柄或者氣缸驅動套件。安裝維護簡便等特點,是一種成本-效益極高的粉體板、丁晴密封圈,覆以耐磨高分子材料加工而成。氣動水泥蝶閥有手動、電動執(zhí)行器、氣動執(zhí)行器等驅動裝置,可互為調換。緊湊的結構、超輕的重量,使您安裝使用更加方便;工業(yè)化的設計加上復合閥板的使用提供了好的密封效果和長的使用壽命。?
特點:
1.結構緊湊輕巧,安裝維護簡便.
2.蝶板耐磨,密封壽命長.?
適用場景:
氣動水泥蝶閥常常被安裝在料斗,筒倉,螺旋輸送機出口以及氣送管路上。
■ 氣動粉體蝶閥性能參數
| 型號 |
BLF |
| 公稱通徑(mm) |
DN100-DN400 |
| 壓力(Mpa) |
0-0.2 |
| 主要零件 |
閥體 |
壓鑄鋁合金 |
| 閥板 |
碳鋼內襯板,覆以耐磨高分子材料 |
| 密封圈 |
丁晴橡膠(NBR) |
| 適用介質 |
水泥、泥漿、粉體 |
| 適用溫度(℃) |
-15--100 |
| 氣動執(zhí)行器 |
型號 |
CP、GT系列、AT系列、AW系列 |
| 壓力(Mpa) |
0.4-0.7 |
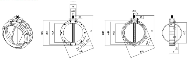
■ 單法蘭氣動粉體蝶閥結構圖

■ 氣動粉體蝶閥安裝尺寸
| 型號 |
φA |
φB |
φC |
φD |
E |
F |
G |
φH |
φH孔徑×數量 |
φP外凹槽直徑×數量 |
φR |
S |
T |
U |
V |
Z |
KG |
| BL1F100 |
95 |
180 |
220 |
105 |
250 |
115 |
35 |
22×19 |
14×4 |
20×4 |
220 |
40 |
80 |
M12 |
50 |
M10 |
4 |
| BL1F150 |
150 |
200 |
228 |
163 |
290 |
115 |
35 |
22×19 |
14×4 |
20×4 |
228 |
40 |
80 |
M12 |
50 |
M10 |
5 |
| BL1F200 |
200 |
250 |
278 |
213 |
340 |
115 |
35 |
22×19 |
14×4 |
20×4 |
278 |
40 |
80 |
M12 |
50 |
M10 |
6.5 |
| BL1F250 |
250 |
300 |
328 |
263 |
390 |
115 |
35 |
22×19 |
14×8 |
20×8 |
328 |
40 |
80 |
M12 |
50 |
M10 |
7.5 |
| BL1F300 |
300 |
350 |
378 |
313 |
440 |
115 |
35 |
22×19 |
14×8 |
20×16 |
378 |
40 |
80 |
M12 |
50 |
M10 |
9 |
| BL1F350 |
350 |
400 |
440 |
363 |
530 |
123 |
50 |
28×25 |
14×8 |
20×8 |
440 |
40 |
80 |
M12 |
50 |
M10 |
16 |
| BL1F400 |
400 |
470 |
530 |
413 |
580 |
123 |
50 |
28×25 |
14×8 |
20×16 |
530 |
40 |
80 |
M12 |
50 |
M10 |
20.5 |
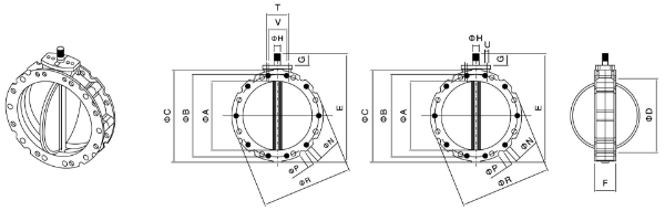
■ 雙法蘭氣動粉體蝶閥結構圖

■ 雙法蘭氣動粉體蝶閥安裝尺寸
| 型號 |
φA |
φB |
φC |
φD |
E |
F |
G |
φH |
φH孔徑×數量 |
φP外凹槽直徑×數量 |
φR |
S |
T |
U |
V |
Z |
KG |
| BL2F100 |
95 |
180 |
220 |
- |
250 |
77 |
35 |
22×19 |
14×4 |
20×4 |
220 |
- |
80 |
M12 |
50 |
M10 |
4 |
| BL1F150 |
150 |
200 |
228 |
- |
290 |
77 |
35 |
22×19 |
14×4 |
20×4 |
228 |
- |
80 |
M12 |
50 |
M10 |
5 |
| BL2F200 |
200 |
250 |
278 |
- |
340 |
77 |
35 |
22×19 |
14×4 |
20×4 |
278 |
- |
80 |
M12 |
50 |
M10 |
6.5 |
| BL2F250 |
250 |
300 |
328 |
- |
390 |
115 |
35 |
22×19 |
14×8 |
20×8 |
328 |
- |
80 |
M12 |
50 |
M10 |
7.5 |
| BL1F300 |
300 |
350 |
378 |
- |
440 |
115 |
77 |
22×19 |
14×8 |
20×16 |
378 |
- |
80 |
M12 |
50 |
M10 |
9 |
| BL2F350 |
350 |
400 |
440 |
- |
530 |
85 |
50 |
28×25 |
14×8 |
20×8 |
440 |
- |
80 |
M12 |
- |
- |
16 |
| BL2F400 |
400 |
470 |
530 |
- |
580 |
85 |
50 |
28×25 |
14×8 |
20×16 |
530 |
- |
80 |
M12 |
- |
- |
20.5 |
如果您需要氣動粉體蝶閥更進一步的參數,請聯系我們的技術部工程師。
|